谷歌又隱形眼鏡專利曝光 可植入眼球的人工晶狀體
來源: 編輯:vbeiyou 時間:2016-05-20 06:44人閱讀
非常在線?2016年5月20日消息,有一句話一直都很喜歡,它就是“眼睛是心靈的窗戶,擁有明亮的雙眸才能看見更遠的未來”,所以在日常生活中非常注以護眼、愛眼。然而,有些時候不是你愛護眼睛,或者很注重保養就能避免眼科疾病的困擾,更別說是先天性的了。
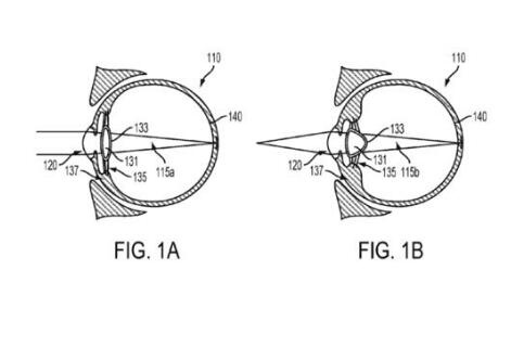
為了能讓患有眼疾的人,重新擁有一雙明亮的雙眸,可以在迷茫中尋找光明,谷歌發明了一個可以植入眼球的人工晶狀體,并為其申請了專利。據專利文件顯示,只要將人眼睛內原有的晶狀體移除,然后采用注射的方式,將該人工晶狀體裝置植入即可
可以說谷歌人工晶狀體的發明,為眼疾患者,以及其家人都帶來了福音。因為從以上就可知,該設備的應用只需移除人眼原來的晶狀體,注射谷歌最新研發的人工晶狀體,無需再進行更大型的手術了。所以既能達到讓眼疾患者恢復視力,重獲光明的目的,又能為其家人節省節省一大筆手術費用,可謂一舉兩得。
當然,作為一款智能隱形眼鏡,谷歌人工晶狀體不僅僅只有矯正視力的功能。其內置一個集合儲存、感應器、電池和無線通訊功能的模組,可以用來和其他設備互動,如為用戶提供運算功能。
也許你會擔心,還智能隱形眼鏡植入眼睛后沒電了怎么辦?據悉,該電池可以通過‘取電天線’的技術來獲得電量,所以無須擔心。
不過遺憾的是,即便谷歌人工晶狀體專利的發明很偉大,很值得期待,未來也不一定會被應用在實際中。所以,從某種意義上來說,谷歌的這項發明,也為患者帶來了無期的等待與期盼。
可以說谷歌人工晶狀體的發明,為眼疾患者,以及其家人都帶來了福音。因為從以上就可知,該設備的應用只需移除人眼原來的晶狀體,注射谷歌最新研發的人工晶狀體,無需再進行更大型的手術了。所以既能達到讓眼疾患者恢復視力,重獲光明的目的,又能為其家人節省節省一大筆手術費用,可謂一舉兩得。
當然,作為一款智能隱形眼鏡,谷歌人工晶狀體不僅僅只有矯正視力的功能。其內置一個集合儲存、感應器、電池和無線通訊功能的模組,可以用來和其他設備互動,如為用戶提供運算功能。
也許你會擔心,還智能隱形眼鏡植入眼睛后沒電了怎么辦?據悉,該電池可以通過‘取電天線’的技術來獲得電量,所以無須擔心。
不過遺憾的是,即便谷歌人工晶狀體專利的發明很偉大,很值得期待,未來也不一定會被應用在實際中。所以,從某種意義上來說,谷歌的這項發明,也為患者帶來了無期的等待與期盼。 分享到:
本站所有文章、數據、圖片均來自互聯網,一切版權均歸源網站或源作者所有。
如果侵犯了你的權益請來信告知我們刪除。郵箱:business@qudong.com

